
- Model replaced BQDD130BL
- Captur™ systems 375 MAX Blower CFM quickly pulls smoke and cooking odors out of the air
- Smooth-flow blower wheel design and high flow filters ensure quiet, 1.2 sones operation at normal speed
- Bright, two-level LED modules - supported by a 3-year warranty - illuminate evenly and are tested in cooking environments to ensure long life without dimming. Color Temperature 3000 K
- Tap-touch, 3-speed capacitive control features a smooth, easy-to-clean surface
- Dishwasher-safe, deluxe micro-mesh filters provide highly efficient grease removal and patterned cover provides a decorative complement to the hood design. The filter clean reminder ensures they will always maintain a high level of capture
- EZ1 brackets make it easy for single person installation in less than half the time of traditional methods
- ADA compliant, remote operation is possible using a standard UL approved wall switch.
- Non-duct capable with use of charcoal filters, sold separately. Hidden louvers on top of hood exhaust away from cabinetry
- Range hood is installed as hardwired or with an optional power cord kit (SHCK44; sold separately)
Broan® Elite 30-Inch Convertible Under-Cabinet Range Hood, Black, 375 Max Blower CFM
The sculpted lines of Alta™ bring an exciting, new choice to typical range hood shapes. Wide curves, tap-touch capacitive controls and LED lighting present a clean, striking design. Equipped with the exclusive Broan Captur™ system, which combines advanced blower design with new filter technology, this 375 MAX Blower CFM-rated hood provides 98.1% removal of smoke and odor to protect your home and family from airborne pollutants caused from cooking.
| Filter Type | Deluxe Micro Mesh |
| Heat Sentry™ | No |
| HVI Certified | Yes |
| Lighting Type | LED |
| Sound Level (Sones) | 1.5 |
| UL Listed | Yes |
| ADA Compliance | Yes |
| Damper Included | No |
| ENERGY STAR® certified | No |
| Light Bulb Wattage | 4.5 |
| Light Bulbs Included | Yes |
| Light Levels | 2 |
| Material | Steel |
| Nightlight Or Nighlight Setting | No |
| Ductless Recirculation Capable | Yes |
| Ductless Filter Or Kit Included | No |
| Remote Operation Capable | No |
| Speed Levels | 3 |
| Switch Control Type | Capacitive Touch |
| Rated Voltage | 120 |
| Boost Mode | No |
| Country of Origin | Mexico |
| Rated Amps | 0.65 |
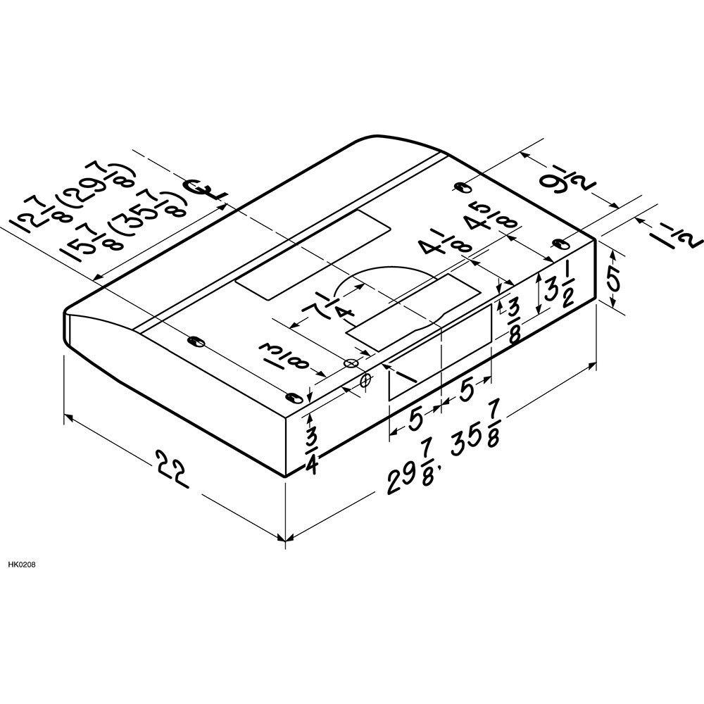
| Product Depth | 22 |
| Product Height | 5" |
| Product Width | 30" |
| Built-In Timer | No |
| Capture Efficiency | 98.1 |
| CFM | 375 Max |
| Diameter | 7" Round |
| Vent Type | Convertible Built-In |
| Duct Direction | Horizontal/Vertical |
| Bulb (Recommended Type) | Integrated LED Module |
| Light Color Temp | 3000 |
| Manufacturer Warranty | 1 Year, 3 Year LED module |
| Wattage | 78 |